化工行業專用不銹鋼防爆搬運車
1.電動防爆不銹鋼搬運車專業用于化工行業氣體倉庫,易燃易爆場所,防爆等級I區防爆,II區防爆。
2.不銹鋼材質防腐防潮不生銹,經久耐用。
3.適用于不同物體的搬運,移位,行走。 無噪聲,無污染,大大提高工作效率。
訂購熱線:13401227818
產品特點
1.電動防爆不銹鋼搬運車專業用于化工行業氣體倉庫,易燃易爆場所,防爆等級I區防爆,II區防爆。
2.不銹鋼材質防腐防潮不生銹,經久耐用。
3.適用于不同物體的搬運,移位,行走。 無噪聲,無污染,大大提高工作效率。
產品參數
| 1 | 特征 | ||
| 1.1 | 品名 | 電動防爆不銹鋼搬運車 | |
| 1.2 | 型號 | EC -1T | |
| 1.3 | 動力形式 | 蓄電池 | |
| 1.4 | 操作類型 | 電動行走 | |
| 1.5 | 額定載重 | Q(Kg) | 1000 |
| 1.6 | 材質 | 不銹鋼316 | |
| 1.7 | 防爆等級 | I級 | |
| 2 | 用途 | ||
| 2.1 | 主要用途 | 倉庫車間搬運(用于食品、化工行業) | |
| 3 | 輪胎 | ||
| 3.1 | 輪胎類型 | 聚胺脂 | |
| 3.2 | 驅動輪,承載輪數量 | 1,4 | |
| 4 | 尺寸 | ||
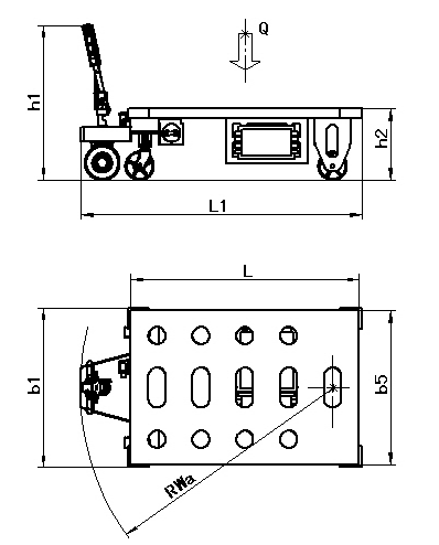
| 4.1 | 整車長度 | L1(mm) | 1970 |
| 4.2 | 整車寬度 | b1(mm) | 1117 |
| 4.3 | 臺面長度 | l (mm) | 1600 |
| 4.4 | 臺面寬度 | b5(mm) | 1077 |
| 4.5 | 車身總高 | h1(mm) | 1100 |
| 4.6 | 承載輪尺寸 | mm | Φ200*50 |
| 4.7 | 驅動輪尺寸 | mm | φ250*80 |
| 4.8 | 通道寬度,帶800×1200托盤 | Ast(mm) | 1250 |
| 4.9 | 車輛調頭需要的最小通道寬度 | Ast(mm) | 2200 |
| 4.10 | 轉彎半徑 | Wa(mm) | 1800 |
| 5 | 性能 | ||
| 5.1 | 行走速度,滿載/空載 | km/h | 4/6 |
| 5.2 | 下降速度,滿載/空載 | mm/s | 50/45 |
| 5.3 | 爬坡度,滿載/空載 | % | 5/8 |
| 5.4 | 制動距離,滿載/空載 | mm | 500/350 |
| 6 | 驅動 | ||
| 6.1 | 驅動電機功率 | Kw | 1.2 |
| 6.2 | 蓄電池電壓/電容 | V/Ah | 12/120(2只) |
| 6.3 | 蓄電池反復充電次數 | 300 | |
| 6.4 | 蓄電池重量 | Kg | 60 |
| 6.5 | 充電器規格 | 24V15A | |
| 6.6 | 驅動控制類型 | 交流 | |
| 6.7 | 驅動輪型式 | 臥式 | |
| 7 | 重量 | ||
| 7.1 | 毛重(含包裝)/凈重 | Kg | 385/382 |
| 8 | 生產和交貨 | ||
| 8.1 | 月生產能力 | 臺 | 40 |
| 8.2 | 每1臺交貨時間 | 天 | 20 |
| 9 | 包裝和運輸 | ||
| 9.1 | 包裝方法 | 整體包裝 | |
| 9.2 | 包裝物 | 角鋼+泡泡塑膜 | |
| 9.3 | 包裝尺寸 | L/B/H(m) | 2*1.15*1.2 |
| 9.4 | 充電器包裝尺寸 | L/B/H(m m) | 320*170*190 |
| 9.4 | 每臺產品配套外箱 | 2 | |
| 9.5 | 20尺集裝箱數量 | 臺 | 14 |
| 9.6 | 40尺集裝箱數量 | 臺 | 32 |
| 10 | 其它 | ||
| 10.1 | 產品認證 | CE | |
| 10.2 | 報關名 | 電動搬運車 | |
| 10.3 | HS碼 | 8428909090 | |
| 10.4 | 訂貨號 | 20028 | |
產品展示
非標型可據客戶要求訂制
采購:化工行業專用不銹鋼防爆搬運車
- *聯系人:
- *手機:
- 公司名稱:
- 郵箱:
- *采購意向:
-
*驗證碼:
跟此產品相關的產品 / Related Products

- 半電動搬運車
- 高性價比、經濟節能、綠色環保; 結構精致、設計精湛,外形簡約; 體積小巧,轉向輕便,輕松操作; 充分滿足大多數客戶的載重使用需求; 部件組裝模塊化,便于維護; 高強度車身和貨叉,堅固耐用,超長壽命設計

- 火車輪專用全電動搬運車
- 全電動火車輪搬運車,專用于火車輪拆裝移位的作業。 車體設計的專用保護夾具,在拆卸時良好地保護著火車輪不受擠壓,碰撞。 具有操作舒適、穩定性高、操作簡便、噪音低、無污染、故障率低等特點。 是火車站內高效,安全,環保型理想搬運設備。 步行式操作,無級變速行駛,大大提高工作效率。

- 8T重型電動搬運車
- 符合歐洲EN1757-1:2001,EN1727 標準; 大容量的牽引電池,充電方便快捷,電量持久; 可選配折疊式踏板,開閉操作方便; 臺灣極智泵站,體積小,可靠性高,工作平穩,節能,降噪,環保; 美國進口的科蒂斯(Curtis)交流電控系統反應靈敏,操控自如,可靠性高; 加裝安全防爆閥,液壓軟管一旦失效情況下貨物不會快速下落,確保操作人員人身安全。
惠澤產品中心
Product Center
聯系惠澤





